新闻中心
更新时间:2019-03-05
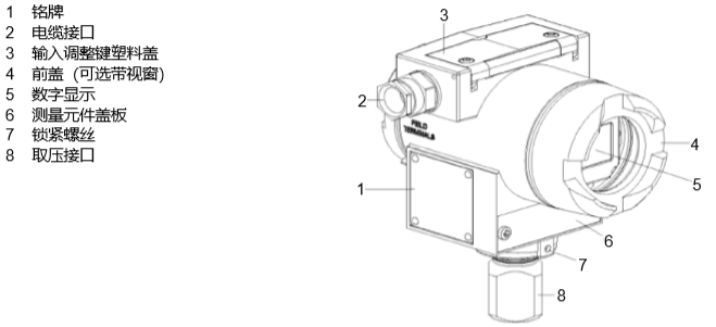
点击次数:721 西门子压力变送器SITRANS P DS III系列外壳为压铸铝合金或精细铸造的不锈钢材质。正面和背面各有一个表面无开孔的圆形表盖。
西门子压力变送器正面的表盖(4,图 3)可以选用带有玻璃视窗,用于直接读出数字表头上显示的测量值。 电缆接口(2,图 3)位于变送器的接线侧,即可以在左侧也可以在右侧。不用的一侧配有密封盖。
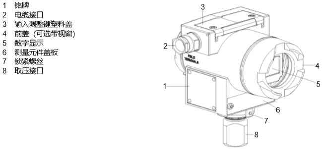
(见 5,图 4),PE 导线接线端子(2,图 4)装在表壳的正面。西门子压力变送器 打开后盖(1,图 4)可看到电气接线盒,用于电源和屏蔽接线。表壳的下部是测量元件和取压接 口(8,图 3)由一个锁紧螺丝(7,图 3)锁紧。
西门子压力变送器模块化设计的 SITRANSP DS III 系列允许测量元 件和电子单元根据需要更换。 表壳的上面你可以看到一个塑料保护盖(3,图 3)可以打开。输入调整键位于塑料盖下面。

图 3 西门子压力变送器7MF4 33 系列 SITRANS P - DS III 压力/差压变送器之传感器,压力系列前视图

图 4 西门子压力变送器7MF4 33 系列 SITRANS P - DS III 压力/差压变送器,压力系列后视图